版權所有 2013? http://www.leanlie.cn?網站版權歸廣州聯莊科技有限公司所有 ??? 粵ICP備2025496670號-2
前言
本標準按照GB/T 1.1-2009《標準化工作導則第1部分:標準的結構和編寫》給出的規則起草。
本標準由中國石油和化學工業聯合會提出。
本標準由全國染料標準化技術委員會印染助劑分技術委員會(SAC/TC134/SC1)歸口。
本標準起草單位:張家港市德寶化工有限公司、浙江理工大學、浙江傳化股份有限公司。
本標準主要起草人:陳金輝、李永強、王宇飛、邵建中、吳玉春、趙梅、劉今強、趙婷。
紡織染整助劑 吸濕排汗整理劑吸濕速干性的測定
1范圍
本標準規定了紡織染整助劑中滌綸吸濕排汗整理劑吸濕速干性的測試方法。
本標準適用于紡織染整助劑中滌綸吸濕排汗整理劑吸濕速干性的測定。
2規范性引用文件
下列文件對于本文件的應用是必不可少的。凡是注日期的引用文件,僅注日期的版本適用于本文件。凡是不注日期的引用文件,其最新版本(包括所有的修改單)適用于本文件。
GB/T 6529 紡織品 調濕和試驗用標準大氣
GB/T 6682 分析實驗室用水規格和試驗方法
GB/T 21655.2-2009 紡織品 吸濕速干性的評定 第2部分:動態水分傳遞法
HG/T 4266-2011 紡織染整助劑 含固量的測定
3原理
3.1 單項組合試驗法
將吸濕排汗整理劑按照一定的工藝條件整理到織物上,以整理后織物對水的滴水擴散時間、擴散面積來表征吸濕性,滴水擴散時間越短、擴散面積越大則表明相應吸濕排汗整理劑的吸濕性越好;以一定時間后,經整理織物的水分殘留率表征速干性,水分殘留率越少則表明相應吸濕排汗整理劑的速干性越好。
3.2 動態水分傳遞法
將吸濕排汗整理劑按照一定的工藝條件整理到織物上,以整理后織物的吸水速率來表征吸濕性,吸水速率越快則表明相應吸濕排汗整理劑的吸濕性越好;以整理后織物的水擴散速率表征速干性,水擴散速率越快則表明相應吸濕排汗整理劑的速干性越好。
4試劑和材料
除非另有規定,僅使用確認為分析純的試劑和GB/T6682 中規定的三級水。
4.1 織物:75D/72F滌綸雙面針織布140 g/m2,滴水擴散時間大于180 s。
4.2 氯化鈉測試溶液:9 g/L,符合GB/T21655.2-2009規定。
5儀器和設備
實驗室用小型軋車;
實驗室用小型定型機;
電熱鼓風干燥箱:可在室溫至300℃控溫;
液態水動態傳遞性能測試儀:符合GB/T 21655.2-2009中第5章的有關規定;
液態水擴散性能測試儀:儀器的基本結構原理和要求參見附錄A,能達到相同效果的儀器均可使用;
恒溫恒濕試驗箱:符合GB/T 6529的相關規定,門板上有12cm的實驗測試孔,其結構示意圖參見附錄B;
分析天平:感量為0.001 g;
有機玻璃板:110 mm×110 mm×5 mm;
移液器:精度1 μL;
計時器:分度0.1 s。
6測試織物的整理
6.1 含固量的測定
吸濕排汗整理劑按HG/T 4266-2011規定的方法測定其含固量。
6.2 工作液的配制
將待測的吸濕排汗整理劑,換算為10 %(質量分數)的含固量,配制成20g/L的工作液。
6.3 測試織物的加工工藝
將試驗織物(4.1)用準備好的工作液(6.2)整理,一浸一軋,軋余率(70±5)%,在100℃的條件下烘干3 min,然后180℃的條件下定型60 s。
7吸濕速干性測試
7.1 將待測布樣(6.3)按GB/T 6529中的規定,平衡4 h后進行測試。
7.2 滴水擴散時間及擴散面積的測定
從待測布樣(6.3)上裁取5塊150mm×150mm布樣,布樣應平整無褶皺。
將布樣反面朝上,平整地固定到液態水擴散性能測試儀試樣架上。
用移液器準確吸取0.2 mL的水,開啟電源,調節儀器燈光亮度,使攝像頭能清晰的獲取布樣的圖片。
按下啟動鍵,水自動滴落于布樣中心位置,并開始計時,當水滴接觸布樣表面不呈鏡面反射時,記錄時間t;若水滴擴散較慢,120s后仍未完全擴散,則可停止實驗,并記錄滴水擴散時間為大于120s。
120 s計時結束,儀器自動抓拍水分擴散圖形,并將圖片傳輸至電腦。
通過軟件中的測量工具選取圖片中的水分擴散的圖形,選取結束后即可讀取面積數值。
重復7.2.2至7.2.6步驟,平行測試5次,取平均值。
7.3 水分殘留率的測定
從待測布樣(6.3)上裁取5塊100mm×100mm布樣,布樣應平整無褶皺。
將有機玻璃板放在天平上稱取其質量M1(g)。
用移液器準確移取0.2 mL的水滴于有機玻璃板中央,稱取水與有機玻璃板質量M2(g)。
立刻將待測布樣反面蓋于水滴之上,并稱取有機玻璃板、水滴、織物三者總質量M0(g)。
將有機玻璃板與布樣一同通過實驗測試孔放入溫度(20±2)℃、濕度(65±2)%、風速(0.2±0.1)m/s 的恒溫恒濕試驗箱中,關閉測試孔,開始計時。
30min后將有機玻璃板及布樣一同取出,稱取有機玻璃板、殘留水分、織物的總質量M3(g)。
重復7.3.2至7.3.6步驟,平行測試5次,取平均值。
水分殘留率的計算
水分殘留率以殘留水分的質量分數Wa計,數值以%表示,按式(1)計算。
........................... (1)
式中:
M0——有機玻璃板、水滴、織物的總質量,單位為克(g);
M1——有機玻璃板的質量,單位為克(g);
M2——有機玻璃板與水滴的質量,單位為克(g);
M3——30min后有機玻璃板、殘留水分、織物的總質量,單位為(g);
計算結果表示到小數點后一位。
7.4 吸水速率及水擴散速率的測試
從待測布樣(6.3)上裁取5塊90mm×90 mm布樣,布樣應平整無褶皺。
用干凈的鑷子輕輕夾起待測布樣的角部,將布樣反面朝上平整地置于液態水動態傳遞性能測試儀的兩個傳感器之間。
啟動儀器,在規定時間內向織物的浸水面滴入(0.2±0.01)g氯化鈉測試溶液(4.2),并開始記錄時間與含水量變化狀況,測試時間120 s,數據采集頻率不低于10Hz。
測試結束后,取出布樣,儀器自動計算并顯示相應的測試結果。
用干凈的吸水紙吸去傳感器板上多余的殘留液,再次測試前,儀器靜置至少60 s,確保傳感器板上無殘留液。
重復7.4.2至7.4.5步驟,平行測試5次,取平均值。
7.5 結果處理
單項組合試驗法:滴水擴散時間越短、擴散面積越大則表明吸濕排汗整理劑的吸濕性越好;水分殘留率越小則說明吸濕排汗整理劑的速干性越好。
動態水分傳遞法:吸水速率越快則說明吸濕排汗整理劑的吸濕性越好;水擴散速率越快則說明吸濕排汗整理劑的速干性越好。
8試驗報告
試驗報告應包括以下內容:
a) 試樣的描述(助劑名稱、型號、批號、生產廠家信息等);
b) 本標準的編號;
c) 試驗結果;
d) 與本標準的差異;
e) 試驗日期。
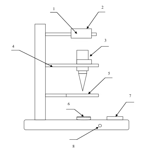
附 錄 A
(資料性附錄)
液態水擴散性能測試儀結構示意圖
A.1 液態水擴散性能測試儀結構示意圖見圖A.1

1——USB電腦連接口;
2——拍照裝置,圖像傳感器:1/2″CMOS彩色;最大分辨率:2048 H×1536 V(300萬);圖像采集方式:連續軟觸發、可硬件觸發;
3——滴水裝置0.2 mL±0.001 mL,滴水裝置距布面的距離:1 cm;
4——旋轉裝置;
5——試樣固定架,直徑120mm;
6——光源;
7——控制面板:電源開關、計時顯示器(計時裝置:120 s)、復位開關;
8——光源調節;
圖A.1液態水擴散性能測試儀結構示意圖
附 錄 B
(資料性附錄)
恒溫恒濕試驗箱結構示意圖

1——透明玻璃觀察窗;
2——溫濕度控制面板,溫度控制:20℃±2℃;濕度控制:65%±2%;風速控制:0.2m/s±0.1m/s;
3——實驗測試孔直徑120mm,帶橡膠塞;
4——恒溫恒濕控制系統;
圖B.1恒溫恒濕試驗箱結構示意圖
